Technik der dreiteiligen BBS Felgen
Aufbau der dreiteiligen Felge
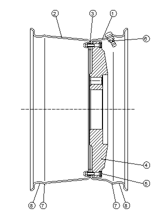
Dreiteilige Felgen bestehen aus der äußeren Felgenhälfte, der inneren Felgenhälfte und dem Felgenstern. Zusätzlich ist zwischen den beiden Felgenhälften ein Dichtring montiert. Die einzelnen Felgenteile sind miteinander verschraubt.
Die folgende Abbildung zeigt einen Schnitt durch eine dreiteilige BBS Felge. Dargestellt sind die äußere Felgenhälfte (1), die innere Felgenhälfte (2), der Dichtring (3), der Felgenstern (4), die Verschraubung (5) sowie das Ventil (6).

Abbildung: Schnitt durch eine dreiteilige Felge, Bauteile der dreiteiligen Felge.
Die dreiteiligen Felgen haben den Vorteil, dass die Felgenbreite und auch die Einpresstiefe individuell aufgebaut werden können. Ein weiterer Vorteil ist, dass bei Beschädigungen eines Felgenteils, z.B. durch Berührung mit dem Bordstein, das einzelne Felgenteil entsprechend einfach ausgetauscht werden kann.
Die BBS Felgenhälften sind mit einem Sicherheitshump (7) ausgestattet, der den Reifen bei Druckverlust am Felgenhorn hält und so ein Abspringen von der Felge verhindert.
Der Reifensitz auf der Felgenhälfte (8) ist glasgestrahlt, sodass der Reifen nicht auf der Felge wandern kann wenn der Reifen (z.B. bei Slalom und Bergrennen) mit geringem Luftdruck gefahren wird.
Die Felgenhälften sind aus hochvergüteter Aluminiumlegierung gefertigt. Die äußeren Felgenhälften sind poliert, jedoch ohne zusätzliche Beschichtung ausgeführt.
Die Felgensterne der BBS Felgen sind aus Magnesiumlegierung gefertigt und werden golden lackiert geliefert. Der Spiess Felgenstern ist ebenfalls aus einer Magnesiumlegierung gefertigt und wird unlackiert geliefert.
Flachbett- und Tiefbettfelgen
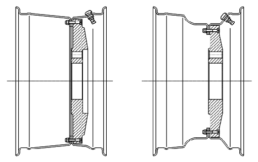
Die Felgen werden ihrer Bauart nach in Flachbett- und Tiefbettfelgen unterschieden. Die Begriffe beschreiben das Felgenprofil im Schnitt und nicht etwa die Tiefe der äußeren Felgenhälfte. In der Abbildung dargestellt sind beide Felgenbauarten. Bei der Flachbettfelge sind Felgenstern und Felgenhälften im gleichen Durchmesser ausgeführt. Haben die Felgenhälften einen größeren Durchmesser als der Felgenstern ergibt sich eine Tiefbettfelge.

Abbildung: Schnitt durch eine dreiteilige Felge in Flachbettbauweise (links)
und Tiefbettbauweise (rechts)
Dichtring zwischen den Felgenhälften
Der zwischen den Felgenhälften montierte Dichtring ist mit einer auf den Dichtring aufgezogene Formdichtung ausgeführt. Die Formdichtung passt sich bei der Montage der Planfläche der Felgenhälfte an. Diese Formdichtung (nicht der Aluminiumring) ist bei jeder Demontage der Felge zu erneuern. Eine Wiederverwendung der Formdichtung kann zu Undichtigkeiten führen.
In der alten Bauform des Dichtrings zwischen den Felgenhälften war je ein Rundschnurring auf jede der Seiten des Aluminiumrings aufgeklebt.
Verschraubung der Felgenteile
Die Felgenhälften werden mit dem Felgenstern mittels Schrauben der Festigkeitsklasse 10.9 verschraubt. Die Schrauben werden beim Verzinken speziell wärmebehandelt um die sog. Wasserstoffversprödung der hochfesten Schrauben sicher auszuschließen.
Montage der Reifen auf die Felgen
Bei Flachbettfelgen muss die Felge zur Reifenmontage zerlegt und im Reifen zusammengebaut werden. Eine Reifenmontage auf einer verschraubten Flachbettfelge ist technisch nicht möglich und verursacht Schäden an Felge und Reifen.
Auf Tiefbettfelgen können Reifen herkömmlich montiert und demontiert werden.
Hinweis:
Bitte beachten Sie, dass unsere technischen Informationen urheberrechtlich geschützt und notariell hinterlegt sind. Deren Veröffentlichung oder Verwendung in ganzer Länge, Teilen oder Umformulierungen ohne unsere ausdrückliche Zustimmung müssen wir leider untersagen.
|